特斯拉汽车一直是新能源汽车的领头人,作为新能源的大哥,它的一些活动总能够影响别的企业,就在醉经,有相关部门就报道出,特斯拉的全新设计,这个设计将会改变自动驾驶领域的汽车。我们一起看看吧。

这个全新的设计就是一项名为“高速布线系统架构”的专利申请,以解决其全自动驾驶(FSD)套件面临的一个重要问题:冗余,并且该专利于当地时间8月15日被正式公布。
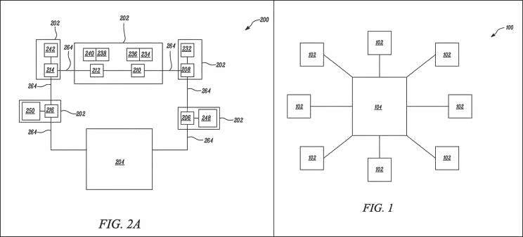
之前的计算机都是,处理器与设备都是单向传输的方式。如果一根线缆失效,那么设备就会失效。自动驾驶就会出现问题。过程中都只能单向传输数据。可能会导致整个系统发生故障。
如果只是增加备用线缆也不是一个很好的解决方案,因为线缆越多,连接点也会更多,进而电路板就会更大,最终造成更高的制造成本。

特斯拉公布的布线结构中包括双向主缆,可与处理器之间互相来回传输数据;主缆沿线连接了设备,该设备内部的集线器与一个或多个摄像头/雷达有关。此外,该主缆可作为两个独立的环路运行,一旦主缆中有一个部分发生了故障,由于具备双环能力,设备和集线器的数据仍然能够发送至处理器或从处理器将数据发送回设备和集线器。
这个设计的还出很明显,就是可以用更少的线缆连接,并且如果一个集线器坏掉,还有其他的可以将数据传输到主缆,然后传输到处理器。

值得注意的是,特斯拉的专利申请中还表示,其技术可用于包括半卡车在内的多种车辆,表明该公司可能打算未来将该架构作为所有FSD项目的标准配置。就先这样看来的话,现在的经济危机对于特斯拉。可能只是眼前的问题,并不会很难受。毕竟已经有消息曝光啦,特斯拉的超级工厂在上海以及该建立完善。年底就能实行生产。特斯拉看来是真的不慌啦!