据外媒报道,当地时间周二,美国专利商标局授予苹果一系列与汽车设计相关的专利。报道称,苹果正在研发代号为“泰坦计划”的汽车产品或服务,最新的专利包括“具有同步车窗的系统”和“用于改善车辆侧视镜功能的系统”等。

第一项专利名为“具有同步车窗的系统”,即车主可以通过控制车窗来保护隐私,使乘客能看到车内的灯光以及被灯光照亮的东西,相反车窗外的人是看不到窗内事物的。
在这项专利中,苹果方面还提议在车窗玻璃上安装光调制器层,通过创建可控制层来调整光线大小,除此以外同时采用车内和车外光源,可以用“交流调制波形”进行调制,这样就不会影响到乘客视力。

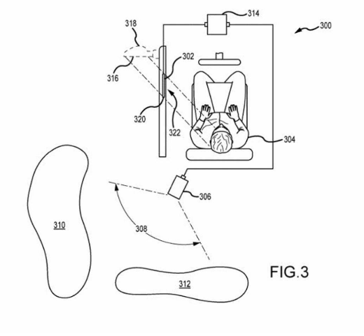
此外,另一项专利的名称为“用于改善车辆侧视镜功能的系统”,意指提供多种改进侧视镜设计的方法,从而减小车身宽度。
第一种,嵌入汽车车身的侧视镜。通过摄像头传感器来监控司机头部运动,若司机正朝着镜子的方向,则会使侧视镜启动到位,并且在不需要的时候自动收回。

第二种,集成侧视镜。该侧视镜安装在车体内,并且利用每侧上的光学元件来向驾驶员提供外部视图。
第三种,完全移除侧视镜,用监视器来代替。车辆内部显示器将会实时提供车辆后部摄像头拍摄的镜头,做到及时反馈。
苹果如此设计的侧视镜系统与传统侧视镜提供的反射图像相比,将会提供更宽的视野,从而帮助驾驶员看到通常被挡住的车辆后部死角区域。

据悉,苹果每周都会提交大量专利申请,尽管申请的存在表明了公司研发工作的兴趣领域,但不能保证所描述的概念会出现在未来的产品或服务中,大家一起拭目以待。不过对此不少网友却操心起了特斯拉,觉得如果未来苹果制造汽车的话,会与特斯拉正面竞争,对此大家都有什么看法呢?